settings
Home
settings
About
settings
Our Countdown
settings
The Yachtie Life
settings
REPAIRS
MAINTENANCE
Emergency Rudder
By:  Andrea Petralia
settings
REPAIRS
MAINTENANCE
Emergency Rudder
By:  Andrea Petralia
arrow_drop_down_circle
Divider Text
A friend of mine relayed the ‘incident’ that brought him to purchase a piece of equipment you basically stow and never use.

They decided to go for a sail and have lunch at anchor. They took their new to them 2002 Catalina 320 out and got sails up early. It was a beautiful day, little or no waves, winds varying from 5-10 kts.
A friend of mine relayed the ‘incident’ that brought him to purchase a piece of equipment you basically stow and never use.

They decided to go for a sail and have lunch at anchor. They took their new to them 2002 Catalina 320 out and got sails up early. It was a beautiful day, little or no waves, winds varying from 5-10 kts.

He said they sailed for about 2 hours, and found a protected bay to bbq and swim.  Around 3:00 they packed everything up to head in. The wind was up a little, but still little for waves, and the forecast was continuing to call for calm.

In trying to head up the anchor to collect rode, they were unable to stay on course. Something during our anchoring - perhaps a wild swing on the rode, perhaps an errant foot coming up the swim ladder - had disconnected our wheel from our rudder.

A quick inspection didn’t uncover the issue although the rudder was still moveable.  But the wire was off the keel post wheel for sure.  He left the anchor down and thought about how to get back.  Fortunately the tow service didn’t take too long and the weather held.  All safe back at his marina.  It turned out to be a failed tensioner, and all is well now.  I take from his experience the serious note that an emergency rudder is a good idea. I believe it to be a requirement.
He said they sailed for about 2 hours, and found a protected bay to bbq and swim.  Around 3:00 they packed everything up to head in. The wind was up a little, but still little for waves, and the forecast was continuing to call for calm.

In trying to head up the anchor to collect rode, they were unable to stay on course. Something during our anchoring - perhaps a wild swing on the rode, perhaps an errant foot coming up the swim ladder - had disconnected our wheel from our rudder.

A quick inspection didn’t uncover the issue although the rudder was still moveable.  But the wire was off the keel post wheel for sure.  He left the anchor down and thought about how to get back.  Fortunately the tow service didn’t take too long and the weather held.  All safe back at his marina.  It turned out to be a failed tensioner, and all is well now.  I take from his experience the serious note that an emergency rudder is a good idea. I believe it to be a requirement.

One that many sailors have mentioned is the Scanmar SOS Rudder is designed to handle boats up to 50 ft. LOA.  In the event the skipper become incapacitated the first mate should be able to lift the 35 lbs of average weight.  Stowage is premium real estate on any boat, as we all know and I was happy with the size the storage bag needs, 48″ x 18″ x 6″.  All parts are easy to stow below deck with the exception of four small brackets that you mount permanently on the boat.

You never know if or when Neptune will claim your sailboat’s rudder.  The Scanmar SOS Rudder would be a welcome addition to help insure the safety of not just your boat but your family as well.

One that many sailors have mentioned is the Scanmar SOS Rudder is designed to handle boats up to 50 ft. LOA.  In the event the skipper become incapacitated the first mate should be able to lift the 35 lbs of average weight.  Stowage is premium real estate on any boat, as we all know and I was happy with the size the storage bag needs, 48″ x 18″ x 6″.  All parts are easy to stow below deck with the exception of four small brackets that you mount permanently on the boat.

You never know if or when Neptune will claim your sailboat’s rudder.  The Scanmar SOS Rudder would be a welcome addition to help insure the safety of not just your boat but your family as well.


The Scanmar SOS Rudder

The SOS Rudder is designed to meet several criteria:

- Small enough to store easily
- Capable of being installed by one person, at sea
- Large enough to steer a 50-60 ft LOA boat
- Reasonably priced

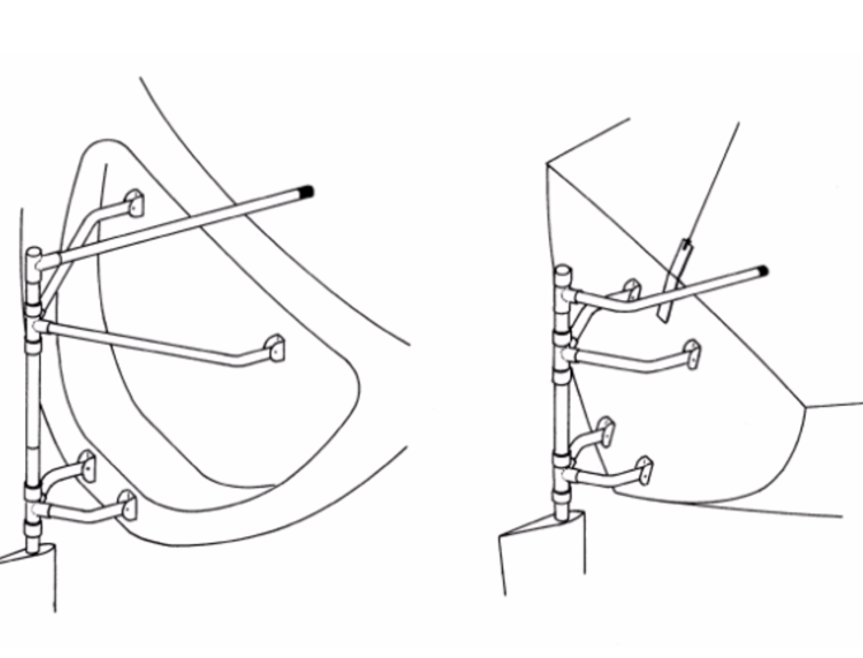
We met these parameters by using existing components already proven for strength in our other products - the mounting brackets and tubes from the Monitor windvane, the rudder from the Monitor MRUD emergency steering system, and the castings from our Auto-helm windvane- all made of 316L stainless steel. We are the first company to offer a commercially available emergency steering system at a reasonable price.

Each SOS Rudder is custom-designed to fit a particular boat, using dimensions supplied by the owner. If we have a mounting drawing for your boat, you can be assured that the SOS Rudder will fit. If we do not, we will send you a worksheet showing which dimensions we need to design a mount. We will work closely with you to be sure the SOS Rudder will fit.

The tiller is designed to fit your particular needs - it can run straight forward, in the traditional manner, or it can cant off to port or starboard to clear a radar mast or backstay, then bend back to parallel boat centerline. Eyebolts are fitted at the forward end to allow setting up steering tackle.

For some transom configurations a t-bar tiller can be fitted, with tackle eyebolts at each end, instead of a traditional tiller. Operating lines can be run inboard from this yoke-style arrangement, and set up to a jury-rigged tiller or even to the wheel spokes.

Initial mounting, and fitting at sea
The forward ends of the mounting tubes are bent in so they are parallel to boat centerline. The installer sets up the mounting brackets on shim blocks angled so the mounting brackets sit parallel to the boat centerline, and their crossbolts align so they can act as a "hinge” during fitting.

To set it up at sea, the SOS Rudder is held up by a tackle and the upper mounting tubes are fitted to their brackets with their crossbolts. As the tackle is slowly eased, the SOS Rudder pivots down on the crossbolts and the lower mounting tubes can be easily aligned with their brackets, and their two crossbolts fitted. All four bolts are then tightened. See the next section, Installation, for sequential photos.
Plan ahead! The SOS Rudder takes some time to set up on your transom. Afterwards, the entire unit breaks down into seven components which store in their supplied stowage bag.

Before setting off on your cruise or race, be sure you and your crew have practiced setting up your SOS Rudder. It's far easier to become acquainted with it in port, rather than facing the first installation at night, in heavy weather......
Plan ahead! The SOS Rudder takes some time to set up on your transom. Afterwards, the entire unit breaks down into seven components which store in their supplied stowage bag.

Before setting off on your cruise or race, be sure you and your crew have practiced setting up your SOS Rudder. It's far easier to become acquainted with it in port, rather than facing the first installation at night, in heavy weather......

We strongly recommend the use of safety lines when the SOS Rudder is mounted at sea. Additionally, of the best and most secure pieces of safety equipment is a bosun's chair slung from the mast or radar arch. Preventers rigged to the quarters of the stern give a stable seat. Remember, though, that it is NOT a replacement for a safety line - it's an addition.

Please note:
The SOS Rudder is an emergency steering system designed to get you to the nearest port in case of rudder failure. DO NOT ATTEMPT TO CONTINUE TO RACE, OR TO CARRY A HEAVY PRESS
OF SAIL.

SOS Emergency Rudder     $3,595
Includes stainless steel emergency rudder, custom designed stainless steel mounting system, mounting hardware and storage bag.

#TheYachtieLife
#LostRudder
#EmergencyAtSea
#SafeNotSorry
#LiveLaughSail
#TheYachtieLife
#LostRudder
#EmergencyAtSea
#SafeNotSorry
#LiveLaughSail


“By staying calm, you increase your resistance against any kind of storms."
-Mehmet Murat Ildan





“By staying calm, you increase your resistance against any kind of storms."
-Mehmet Murat Ildan



settings
Divider Text
AUTHOR
Andrea Petralia
Though few things in life are ever perfectly and consistently balanced, Andrea has made it her daily endeavor to weave together the strands of self-care, organic food, and mindful living. You can often find her reaching out and encouraging others to join in the journey toward self-health, and sharing poignant stories along the way.
settings
Divider Text
AUTHOR
Andrea Petralia
Though few things in life are ever perfectly and consistently balanced, Andrea has made it her daily endeavor to weave together the strands of self-care, organic food, and mindful living. You can often find her reaching out and encouraging others to join in the journey toward self-health, and sharing poignant stories along the way.
settings
Related Posts
Related Posts
settings
Divider Text
settings
Related Posts
Related Posts
settings
Divider Text
Destinations 3- Title Placeholder Here
We will need to include text from the first paragraph of the related post.  It needs to run 4 lines and break off with ... before placing READ MORE 
QUICK LINKS
settings
Reach out to us
RESOURCES

Privacy

Terms

FOLLOW US
QUICK LINKS
RESOURCES

Privacy

Terms

FOLLOW US
© 2022 Proudly created by LiveLaughSail Media Production LLC | Copyrighted LiveLaughSail LLC
© 2022 Proudly created by LiveLaughSail Media Production LLC | Copyrighted LiveLaughSail LLC
[bot_catcher]